Chapter 51D
Ophthalmic Lens Tints and Coatings
GREGORY L. STEPHENS and JOHN K. DAVIS
Main Menu   Table Of Contents

Search

TRANSMITTANCE
METHODS OF TINTING A LENS
TINTS FOR INDOOR USE
TINTS FOR OUTDOOR USE (SUNGLASSES)
PROTECTION FROM HARMFUL SOLAR RADIATION
OTHER IMPORTANT TINTS AND COATINGS
REFERENCES
REFERENCES

The tints and coatings used on spectacle lenses serve a fashion purpose, can make vision more comfortable, can improve visibility and contrast, and can protect the eyes from the effects of harmful radiation. This chapter focuses on the last three purposes, with the emphasis on prescription spectacle lenses.
Back to Top
TRANSMITTANCE
When light passes through a spectacle lens, some light is reflected at the front surface, some is absorbed or scattered by the lens material, and some is reflected at the lens back surface. The percentage of incident light that passes completely through the lens for a given wavelength is the lens transmittance for that wavelength. A plot of transmittance versus wavelength provides the basic information needed to understand the properties of a tinted lens.

The average of the transmittance values over a given wavelength range is the average or mean transmittance of a lens for that wavelength range. However, the transmittance of a lens also depends on the spectral distribution of the light incident on it. The transmittance over the visible spectrum (380 to 780 nm), weighted by the spectral distribution of daylight and also by the relative sensitivity of the eye under photopic conditions (the photopic luminosity curve), is often termed luminous transmittance.1 Ultraviolet (UV) and infrared (IR) radiation transmittances are commonly specified as mean transmittance over a given spectral range.

Most prescription lens tints are specified by their color and a number that indicates the approximate luminous transmittance of the tint. Light tints with transmittances of about 75% to 85%, #1 tints, are used as fashion tints. With transmittances of about 50%, #2 tints are often too dark for indoor wear and not dark enough to be effective sunglasses. Because of these limitations, their use is uncommon. Dark, or #3 tints, which are commonly prescribed as sunglasses, have transmittances of approximately 20%.

The maximum transmittance of a clear lens is limited by the reflectance at the lens surfaces. It is not possible to increase the transmittance of a lens beyond a limiting value of about 92% unless an antireflective coating is applied. By decreasing reflectance, the antireflective coating increases transmittance. A high-quality antireflective coating can decrease the reflectance at each surface of a lens to approximately 0.5%, providing a total lens transmittance of approximately 99%.

Back to Top
METHODS OF TINTING A LENS
Three procedures are commonly used to tint a lens. Usually, plastic lenses are tinted by dipping them in a hot, water-soluble dye. This dye penetrates a uniform distance into the lens surfaces, providing a tint of uniform color and transmittance. Almost any color is available. By dipping only a part of the lens in the dye, gradient tints can be provided, or the lens can be dyed with multiple colors. The tint can be removed almost completely by boiling the lens in an alcohol solution. Polycarbonate plastic does not absorb dye. What is tinted is the abrasion-resistant coating. For the patient, the result is the same.

Normally, glass lenses are tinted by the addition of a chemical compound to the molten glass. Lens transmittance varies with lens thickness, so this type of tint should not be used for lenses of high power. A high-minus-power tinted glass lens is darker at its edge than at its center, and a high-plus-power lens is darker at its center than at its edge. A high-plus-power tinted glass lens can be too dark at its center for its intended use.

Some glass lenses are tinted by the application of a coating to one or both lens surfaces. These coatings consist of a thin layer of a colored glass compound or a metal oxide that is applied using a vacuum deposition process. The coating is of uniform thickness across the lens surface, so transmittance does not vary with lens power and thickness. The colored layer is soft, so a thin layer of another compound, usually magnesium fluoride, is often applied over this first layer to provide some abrasion resistance. However, even this protective layer is somewhat soft, so a coating can be abraded easily and is best applied only to the lens back surface, providing some protection. The magnesium fluoride protective coating is extremely thin, and interference effects occur within the coating so that light reflected from the lens surface is colored, usually red, blue, or purple. This coloring may not be cosmetically acceptable to some patients.

The silver- or copper-colored mirror coatings found on both glass and plastic lenses are applied by a vacuum deposition process. When these are applied to a tinted glass or plastic lens, the result can be extremely dark sunglasses. For example, a glass sunglass lens with a 20% transmittance coated with a mirror coating of 40% transmittance will have a transmittance of 8% (20% × 40%).

Back to Top
TINTS FOR INDOOR USE
Lightly tinted lenses with transmittances of about 80% often are prescribed for indoor use, for both cosmetic purposes and comfort. For many years, pink or flesh-colored tints (Fig. 1) have been recommended for patients who complain of glare and discomfort while working under fluorescent lights. Before the advent of plastic lenses, glass lenses capable of absorbing UV radiation, especially the American Optical Corporation's Cruxite (Southbridge, MA), had a pink tint. Bausch and Lomb's Softlite (Rochester, NY) tint was pink as well. This glass was used routinely in aphakic lenses to remove some of the UV radiation that otherwise would reach the retina in aphakic patients. The color had little to do with the effectiveness of the lens in this regard. Pink tints began to be associated with many desirable features, including UV protection, comfort, and glare protection. Actually, any tint that reduces visible light transmittance performs the same function. The colors are not strong enough to have any color-filtering properties. In the current market, lenses that provide complete UV protection (whether tinted or not) are the best option for the patient with aphakia.

Fig. 1. Transmittance curves for typical glass and CR-39 plastic pink lens tints.

Lightly tinted lenses perform a useful function by reducing the internal multiple reflections within a lens. An overhead source that is brighter than the foreground, such as a fluorescent light, is reflected from the rear surface of the lens to the front and then back through the rear surface into the eye (see Fig. 13). Many more internal reflections occur, but after the first three, the reflections usually are not bright enough to affect vision. This unwanted glare can reduce the contrast of the foreground and reflect the light source as a ghost image. Even a light tint attenuates this stray light because the reflected light rays pass through the tint three times and are absorbed on each passage. Pink or other lightly colored tints may have a placebo effect. Also, because the tints greatly reduce the ring effect (myopic rings) of high-minus power lenses, cosmetic appearance is improved, if nothing else.

Fig. 13. Weak minus-power lenses form ghost images of bright objects.

Fluorescent lights emit measurable amounts of ultraviolet B (UVB) radiation, the radiation from 290 to 315 nm that has been associated with the development of cataracts. Plastic diffusers may absorb some of this radiation, and “egg-crate” diffusers that block a direct view of the light source also attenuate it. However, patients exposed to massed banks of fluorescent lights should have lenses or tints that absorb UV radiation. UVB protection is automatic with polycarbonate and most CR-39 (PPG Industries, Pittsburgh, PA) plastic lenses. The clinician should be aware of the properties of the lenses that he or she prescribes.

Colors other than pink or brown, such as light grays, blues, and lavenders, have been popular as fashion tints. Lenses with pronounced coloring should not be recommended for persons with color deficiencies. Strongly colored lenses, especially red or blue lenses, may affect traffic signal visibility, and long-term wear of these lenses may alter color perception for a considerable time after the lenses are removed.2

Back to Top
TINTS FOR OUTDOOR USE (SUNGLASSES)

CONTROLLING LIGHT LEVELS

Sunglass lens tints are specified by both transmittance and color. Transmittance of visible light should be such that the brightness of objects in the visual field are brought into a comfort zone of 350 to 2000 candelas/meters2 (cd/m2),3 where cd/m2 is a unit of luminance. Often, there is a sense of glare when the dominant luminance in the visual field exceeds this level. Some people prefer less light, but older patients often can tolerate higher levels. Table 1 lists the luminances that are encountered in various situations in which sunglasses or tinted lenses might be helpful. Light-colored pavements, most beaches, and grassy areas have luminances such that a 20% transmittance sunglass lens can bring them into the comfort zone. Standard sunglass lenses typically have transmittances of 15% to 25%, and these sunglasses work well for normal outdoor use and for driving. Shady areas are attenuated to about 60 cd/m2, but this level is still adequate.

 

TABLE 1. Selected Outdoor Luminance Ranges


SceneLuminance (cd/m2)
Bright hazy sky under the sun40,000---70,000
Sun on clouds15,000---30,000
Bright beach6,000---15,000
Concrete pavement3,000---9,000
Sunlit fields and foliage3,000---7,000
Shade beside trees300---600
Backlighted signs300---600
Shady side of buildings300---600
Deep blue sky away from sun300---3000
Comfortable viewing350---2000
Requiried for adequate seeing35

cd/m2 = candelas/m2
(Davis JK: Prescribing for visibility, Probl Optom 2:131, 1990)

 

Some activities require darker sunglasses, usually of 8% to 12% transmittance, to bring luminances into the comfort zone. These include winter sports, especially those performed at high altitudes, mountain climbing, and flying above the clouds. Darker sunglasses, with transmittances of 3% to 5%, also are popular for these activities when it is necessary to face the bright sky beneath the sun.3 Side-shields or deeply wrapped lens designs should be worn with extremely dark sunglasses to maintain retinal adaptation at the level required by the sunglass transmittance. However, extremely dark sunglasses are not recommended for driving because they blacken shady roadside areas, especially when the driver is entering the shade from a brighter area. A sun visor is a better solution. The American National Standards Institute (ANSI) Z80.3-1996 standard for nonprescription sunglasses1 recommends that tinted lenses with transmittances of less than 8% not be used for driving.

SUNGLASSES AND VISIBILITY

A patient wearing spectacles loses contrast when viewing a dark object against a bright sky background. This loss of contrast occurs because the bright light from the sky is reflected multiple times within the lens and eventually is superimposed on the light from the foreground object. Sunglasses, or even a lightly tinted lens, can greatly reduce this reflected light and increase contrast because the multiple reflections will be attenuated each time they pass through the lens.

Sunglasses also may be used to maintain night vision after prolonged periods of exposure to sunlight. Two to 3 hours of sun exposure can delay both the start of dark adaptation and the time needed to reach the night vision threshold by several hours.4 Longer exposures over several days result in larger threshold elevations. Sunglasses with transmittances of less than approximately 15% preserve night vision, whereas transmittances greater than approximately 35% are not effective.5,6 Whenever night vision is critical, such as for driving or flying, dark sunglasses should be worn outdoors during the day to maintain optimal visual performance at night.

Sunglasses or any tinted lens with a transmittance less than about 80% should not be used for driving at night. Although tinted lenses solve the problem of headlight glare by absorbing light from headlights, the lenses greatly decrease the visibility of objects at the side of the road (e.g., a pedestrian). When a patient is wearing spectacles and reports headlight glare, the best solution is an antireflective coating. The coating decreases the visibility of multiple reflections from the lens surfaces. These reflections contribute to glare. The cause of much headlight glare is light scattered by the ocular media. This problem becomes worse with age. There is no good solution to this problem, and patients usually must modify their habits so that they are not forced to drive at night. Glare is worse when an uncorrected refractive error is present. Fine-tuning the spectacle prescription can minimize the glare problem at all ages, but the adjustment may be especially appreciated by younger people.

SUNGLASS LENS COLOR

Sunglass colors should be chosen to avoid compromising the visibility of traffic signals and affecting color vision. Neutral gray lenses are best for these purposes because their transmittance is relatively constant across the visible spectrum (Fig. 2). Consequently, gray is by far the most commonly prescribed sunglass color.

Fig. 2. Transmittance curves for typical glass, CR-39 plastic, and polycarbonate gray sunglass tints.

Brown and green lenses are other common colors for sunglass lenses. Brown lenses, which selectively absorb the blue end of the visible spectrum (Fig. 3), tend to increase the subjective impression of contrast by darkening the blue sky relative to foreground objects and lowering some of the effects of blue haze. This effect is pleasing to many users. These lenses also may be beneficial for certain types of color deficiencies. A patient with protanomaly or protanopia might benefit from a brown lens instead of a gray lens because of the relatively high transmittance of the brown lens in the red end of the spectrum, where the patient is least sensitive. The color vision of deuteranomalous or deuteranopic patients may be degraded by such lenses because a brown tint attenuates green radiation. Green lenses (Fig. 4) provide maximum transmittance in the portion of the visual spectrum, the green, to which the human eye is most sensitive, while absorbing red and blue light. However, a green tint should not be used for a patient with a color deficiency because it narrows the visual spectrum.

Fig. 3. Transmittance curves for typical glass, CR-39 plastic, and polycarbonate brown sunglass tints.

Fig. 4. Transmittance curves for typical glass, CR-39 plastic, and polycarbonate green sunglass tints.

Choosing a sunglass lens for a patient with a color deficiency requires care. The color vision of these patients may be aided by one color of tint and hindered by another, so it is important to identify the exact color vision deficit that is present. This task is not simple because most color vision tests do not classify deficiencies by type but only indicate whether a color deficiency is present. Exact diagnosis or identification usually requires an anomaloscope, the Farnsworth-Munsell 100 hue test, or the Panel D-15 test,7–9 color vision tests that are not available in most clinical practices. Generally, the gray sunglass lens is the best option for all patients.

Back to Top
PROTECTION FROM HARMFUL SOLAR RADIATION
A large body of literature shows that UV radiation can have harmful effects on the eye. The most concern has been for solar UV radiation, but important industrial or non-natural sources of UV radiation include mercury vapor lamps, lasers, and welding arcs. There is no evidence that scattered and reflected IR radiation in daylight is damaging, although industrial sources of IR radiation may be a cause of eye problems. The effects of everyday exposure to blue light from the sun are more controversial, but direct viewing of the sun can damage the retina in a few seconds.

THE SUN AS A RADIATION SOURCE

The amount of solar radiation that reaches the surface of the earth varies with a large number of factors, including time of day, latitude, longitude, altitude, cloud cover, and the amount of ozone, water vapor, and dust in the atmosphere. Solar irradiance as a function of wavelength at the earth's surface is often calculated from the irradiance measured outside the atmosphere, with allowances for these factors.10 An example is shown in Figure 5. The shortest wavelength that reaches the surface of the earth is UV radiation of wavelength 288 nm. Shorter wavelengths are absorbed by molecular and atomic nitrogen and oxygen in the atmosphere and by the ozone layer of the earth.11 UV radiation from 290 to 380 nm is significantly transmitted, with the transmittance increasing as wavelength increases, and the visible spectrum from 380 to 780 nm is also highly transmitted. The near IR radiation (or IR-A) from 780 to 1400 nm reaches the surface of the earth in large amounts, but longer wavelengths (1400 nm to 1 mm) are heavily absorbed by molecules in the atmosphere. IR radiation is responsible for the feeling of heat when the skin is exposed to the sun. The effects of UV radiation on the skin include tanning, sunburn, aging, and skin cancers.12

Fig. 5. Calculated solar irradiance at the surface of the earth as a function of wavelength. (Modified from Mecherikunnel AT, Richmond JC: Spectral distribution of solar radiation, NASA Technical Memorandum 82021. Greenbelt, MD: NASA Goddard Space Flight Center, 1980.)

EFFECTS OF ULTRAVIOLET RADIATION ON THE EYE

Cornea

The cornea absorbs all radiation below approximately 300 nm, with transmittance increasing rapidly above this wavelength (Fig. 6A). Absorbed radiation has the potential to cause damage, and studies of both animals and humans have shown that the action spectrum for corneal damage from UV radiation extends from approximately 220 to 310 nm.13 The UVB wavelength band, from 290 to 315 nm, has the shortest wavelengths and therefore the highest energies of all radiation that reaches the surface of the earth from the sun. UVB radiation is strongly reflected by snow, greatly increasing the levels reaching the eye.14 Corneal damage caused by a few hours exposure to high levels of UVB in this situation is termed snowblindness, actinic keratitis, or photokeratitis.13 A patient with photokeratitis has pain, photophobia, lacrimation, blepharospasm, and a gritty feeling or a sensation of a foreign body in the eye, usually 6 to 12 hours after exposure to UV radiation. The skin of the eyelids and face are reddened. Fluorescein staining of the cornea shows focal loss of epithelial cells. Symptoms usually disappear within 48 hours, and permanent damage is rare. Photokeratitis is not commonly found with other exposures to solar UV radiation because most other surfaces (e.g., grass, water, sand, concrete) are poor reflectors of UV. In addition, the eyebrows, eyelids, and eyelashes provide some protection from direct (nonreflected) solar UV radiation. A prone sunbather could be a victim of photokeratitis if the sky is viewed for extended periods of time.15 Sunbathers should wear eye protection.

Fig. 6. Transmittances of the human cornea (A) and lens (B) as a function of wavelength. Transmittance at the short-wavelength end of the spectrum decreases with age. (Modified from Boettner EA, Wolter JR: Transmission of the human ocular media. Invest Ophthalmol 1:776, 1962.)

When photokeratitis is associated with exposure to a welding arc, the condition is often termed welder's flash. Electric welding arcs emit large amounts of visible, IR, and UV radiation, including UVA (315 to 380 nm), UVB, and UVC wavelengths. UVC wavelengths are shorter than 290 nm and are not part of the solar spectrum. Welders must be protected from this radiation, and the ANSI Z87.1 standards for industrial eye protection provide the transmittance requirements for welding filters.16 The affected individual need not be a welder, but could be an assistant or bystander who is not wearing eye protection. As with snowblindness, the signs and symptoms of welder's flash usually disappear within 48 hours.

Pterygia and climatic droplet keratopathy have both been associated with long-term solar UV exposure,17–22 and at least one study suggests that the development of pterygia and climatic droplet keratopathy may be associated with long-term exposure to visible light.23 However, other factors, such as dietary deficiency, low humidity, and chronic eye irritation from wind and dust, also may be involved.

Lens

The crystalline lens absorbs most UV radiation below 400 nm, acting as a filter that protects the retina from most UV radiation that is transmitted by the cornea (see Fig. 6B). Radiation that reaches the lens has been implicated in the development of cataracts. Animal studies24 indicate that acute exposures to UV radiation from 295 to 320 nm (primarily UVB) causes lens opacities. UV radiation of longer wavelength (UVA) does not cause damage, even at high exposure values. More recently, epidemiologic studies25–29 suggest that chronic UVB radiation exposure is associated with the development of cortical cataracts but not nuclear cataracts, and that chronic UVA exposure is not associated with the development of cataracts.

The potential depletion of atmospheric ozone by chlorofluorocarbons may have an impact on the incidence of cataracts that are associated with UV radiation. As the ozone layer thins, UV radiation levels are expected to increase, and the increase is expected to be greatest for UVB radiation.30 These wavelengths are among the most damaging to the lens, so the incidence of cataracts is expected to increase, as is skin damage related to exposure to UV radiation.

Retina

When the crystalline lens is removed, large amounts of both UVB and UVA radiation reach the retina. Animal studies suggest that this radiation has a low threshold for damage to the retina.31,32 Patient reports of erythropsia after cataract surgery are probably related to this increased UV exposure,33,34 as is a selective loss of blue cone sensitivity after a number of years.35 The incidence of cystoid macular degeneration after cataract surgery can be reduced with the use of UV-protective intraocular lenses.36 UV radiation as short as 365 nm, and probably shorter, can be detected by the aphakic patient and appears violet.37,38 Because of the chromatic aberration of the eye, this radiation is of focus and decreases image contrast. It is highly recommended that all intraocular lenses provide protection against UV radiation, and all aphakic patients without UV-protective intraocular lenses should have complete UV protection in their spectacles, contact lenses, and sunglasses.

UV radiation reaches the retina of the intact (phakic) eye in small amounts, primarily in a band transmitted by the lens that extends from approximately 300 to 340 nm, peaking at 320 nm (see Fig. 6B). This radiation is of high energy, and the retina has a low damage threshold, so concern exists that solar UV exposure may cause retinal damage.39,40 Further research is needed to determine whether chronic low-level exposure to UV radiation from the sun can damage the retina of the nonaphakic eye.

Medications and Exposure to Ultraviolet Radiation

A number of medications are known to be photosensitizing; that is, these medications increase the sensitivity of the skin or the eyes to the effects of UV exposure. The psoralens are among the best known. Some psoralens are used in combination with exposure to UVA radiation to treat dermatologic problems, and cataracts can develop in patients who take these medications if they are exposed to solar UV radiation during the treatment period.41 Many other drug types have been reported to be photosensitizing, including tetracyclines, sulfonamides, phenothiazines, sulfonylurea, allopurinol, and some oral contraceptives.11,39

EFFECTS OF INFRARED RADIATION

Although it reaches the surface of the earth in large amounts, solar IR radiation is of low energy relative to UV radiation, and the IR reaching the eye either directly or by reflection from trees and grass is not harmful.42 Molten materials are the primary industrial sources of IR radiation. Many of the industries that produce these materials are automated, and employees may not be exposed to large amounts of IR radiation. However, direct ocular damage from IR radiation has been documented for long-term, relatively high-level exposures in industry. Studies showed that glass, iron, and steel workers had increased levels of wedge-shaped aging cataracts relative to control groups.43–45

When protection from IR radiation is desirable, the best protection is provided by metallic gold, aluminum, silver, copper, and chromium-nickel alloy coatings that reflect large amounts of incident radiation.42 Dark green glass sunglasses (see Fig. 4) absorb IR radiation, but shorter IR wavelengths may be reradiated at longer IR wavelengths, providing less protection in industrial situations.42 Plastic lens materials generally do not provide IR protection, nor do other types of glass lenses.

EFFECTS OF BLUE LIGHT

Blue light has been implicated in damage to the retina (the “blue light hazard”), and this damage is of most concern for industrial workers who have chronic exposure.42 Blue light from natural daylight does not reach the eye in high enough levels to require special protection, although the retinal damage that occurs with deliberate sun gazing is attributed primarily to photochemical damage from blue light.14 It has been speculated that chronic exposure to blue light from the sun may be related to the development of age-related maculopathy and other eye diseases, and possibly to the progression of retinitis pigmentosa.23,40,46–48 A standard gray sunglass lens reduces the level of blue light that reaches the retina by approximately 80%. When more complete protection is considered necessary, then a yellow or brown lens is required. Yellow and brown tints can alter color perception considerably and may not meet ANSI Z80.3 standards for recognition of traffic signal color.49

ULTRAVIOLET PROTECTIVE LENSES

Clear Lenses

Ultraviolet transmittance curves for the most common clear ophthalmic lens materials are shown in Figure 7. Only CR-39 plastic with a dye that absorbs UV radiation, polycarbonate, and other high-index plastics absorb all UV radiation. CR-39 plastic without a UV-protective dye absorbs the UVB and a part of the UVA but does not absorb UVA from 350 to 380 nm. Clear crown glass does not provide UV protection because it transmits radiation above approximately 290 nm, including almost all solar UV radiation.

Fig. 7. UV radiation transmittance curves for crown glass, CR-39 plastic, polycarbonate, high-index plastics, and CR-39 plastic that contains a dye that absorbs UV radiation.

Sunglasses

Standard prescription sunglass lenses (gray, brown, and green), whether crown glass or CR-39 plastic, absorb all UVB radiation and approximately 95% of the UVA radiation, whereas polycarbonate plastic sunglass lenses absorb essentially all UV radiation (see Figs. 2 through 4). Partial absorption of UVA is not adequate in some situations. For example, aphakic individuals without UV-protective intraocular lenses and people who spend large amounts of time outdoors, especially at low latitudes or high altitudes and in situations in which there is a large amount of reflected UV radiation from snow require complete UV protection. When 100% UV absorption is desired, a protective coating or dye can be applied to CR-39 plastic or crown glass sunglass lenses.

It is more difficult to make general statements about the UV protection provided by nonprescription sunglass lenses because the lens materials are obtained from a large number of sources, both domestic and foreign. Generally, the UV absorption of these lenses cannot be predicted from their color or cost.50,51 Inexpensive sunglasses may provide just as much protection as more costly ones. Any polycarbonate nonprescription sunglass lens can provide complete UV protection, with the added advantage of extreme impact resistance. Because of the increased awareness of the need for protection against UV radiation, nonprescription sunglasses that provide no protection or poor protection are becoming less common, but they are still available. Many manufacturers now label their sunglass lenses with UV transmittance percentages or with statements indicating conformity to the UV and visible light transmittance requirements of the ANSI Z80.3-19961 nonprescription sunglass standard. There are no current governmental (US Food and Drug Administration [FDA]) requirements for sunglass labeling, and some labeling can be misleading. Inexpensive “UV meters” available for use in the optical dispensary tend to overestimate the UV transmittance of a lens.52 The best way to determine the UV transmittance of a lens is from its transmittance curve. Some sunglass manufacturers and importers supply this information on request.

Even with lenses that absorb all UV radiation, UV can reach the eyes from the sides and top of sunglasses. Radiation that reaches the eye from the temporal side may be focused by the cornea onto the nasal limbus and the nasal side of the crystalline lens.53,54 This phenomenon may account for both the nasal location of most pterygia and the inferonasal location of many cortical cataracts.55 Large lenses worn close to the face provide better protection, and the use of side-shields or a deeply wrapped frame further protects the eyes.56 Wearing a hat with a brim also reduces the amount of UV radiation reaching the eyes.57

Nonprescription sunglasses vary in optical quality. The best lenses are produced in the same manner as prescription lenses. Sunglass lenses fabricated from bent plastic sheets may have localized areas of poor optics that can cause eyestrain or decreased visual acuity. Optical quality can be evaluated by viewing a patterned surface or an edge (window blinds, fluorescent lighting fixtures, window or door frame) through the lens while holding the lens at arm's length and moving the lens back and forth or up and down. There should be no blurring, localized bending, or waviness of the pattern as the lens is moved.

Table 2 summarizes the qualities of a good pair of sunglasses.

 

TABLE 2. Choosing a Good-Quality Pair of Sunglasses

  1. Lenses should be dark enough to provide comfortable vision and maintain night vision. When choosing sunglasses indoors, a good rule of thumb is that the eyes should not be visible when looking into a mirror. A transmittance of 15% to 25% is best for most purposes, although darker tints can be used for special situations (skiing, mountain climbing, flying above the clouds, at the beach). Extra dark sunglasses should be a deeply wrapped design or should use side-shields.
  2. Lenses should match in color and transmittance. Gradient tints should extend equally down the lenses and should lighten gradually.
  3. No wavy areas, localized distortion, or blurring should be noted when viewing a patterned surface through nonprescription sunglass lenses.
  4. Lenses should not affect color vision or traffic signal visibility. Gray tints are best for this purpose.
  5. Lenses should be impact resistant. Polycarbonate has the best impact resistance of all materials, although all sunglasses must meet FDA standards for impact resistance.
  6. Lenses should absorb UV radiation as required for their purpose. The ANSI Z80.3 standard for nonprescription sunglasses recommends a maximum UVB transmittance of 5% for general purpose sunglasses and 1% for special purpose sunglasses. UVA transmittance should not exceed the visible light transmittance for general purpose sunglasses and should not exceed one half of the visible light transmittance for special purpose sunglasses.
  7. Sunglass frames should be large to provide adequate protection. The temple pieces should not be so large that side vision is affected.

ANSI, American National Standards Institute; FDA, US Food and Drug Administration; UVA, ultraviolet A; UVB, ultraviolet B.

 

Who Should Receive Ultraviolet Protection?

Table 3 provides a partial list of those people who require UV-protective lenses. Aphakic individuals without UV-protective intraocular lenses require protection in both their clear prescription lenses and in sunglasses. People who spend large amounts of time outdoors should have UV protection in both their clear lenses and their sunglasses. UV protection is more important in southern climates and in mountainous regions. UV levels are highest in the middle of the day, from approximately 10:00 AM to 3:00 PM.14 People who are outdoors at this time of day have a greater need for protection against UV radiation.

 

TABLE 3. People Who Should Be Protected from Exposure to UV Radiation

  1. Aphakics and pseudophakics, to prevent solar retinitis
  2. Cataract patients, to reduce lenticular scatter
  3. Patients receiving photosensitizing medication, to prevent photoallergic and phototoxic reactions and cataracts
  4. Workers in vocations rich in UV radiation: welders, electronics workers, graphic arts workers, and researchers
  5. People who spend excessive hours in the sun
  6. Patients with pinguecula, pterygia, and macular degeneration
  7. People who enjoy avocations rich in UV radiation: snow skiing, sunbathing, and mountain climbing
  8. People who use sunlamps or solariums
  9. Children who play outside or are exposed to excessive UV radiation, to delay photochemical responses in the corneal endothelium, lens, and retina
  10. All patients, to maintain healthy eyes and to eliminate, reduce, or delay the prevalence of corneal problems, cortical senile cataracts, and solar retinopathies that are induced by UV radiation*

UV, ultraviolet.
*This suggestion is made because exposure to UV radiation is cumulative and it is hoped that protection will prevent radiation-related difficulties for young people and delay senescent changes in older adults.
(Pitts DG: Ultraviolet radiation: When and why. Probl Optom 2:95, 1990)

 

Back to Top
OTHER IMPORTANT TINTS AND COATINGS

PHOTOCHROMIC LENSES

Photochromic lenses darken or change color when exposed to light or UV radiation. These are popular lenses, and the two most well-known are probably the glass Photogray Extra lens from Corning, Inc (Corning, NY) and the plastic Transitions Gray lens from Transitions Optical (Pinellas Park, FL). Two recently introduced gray plastic photochromic lenses, Corning Sunsensors and the Rodenstock USA (Danbury, CT) ColorMatic Extra, are of similar design and compete directly with Photogray Extra and Transitions for market share. When worn outdoors on a warm, sunny day, these photochromic lenses darken to a transmittance of 20% to 25%, a value that is a comfortable sunglass transmittance for everyday use. Indoors, these photochromic lenses have a light tint. The lenses do not darken completely when worn in a car, in part because the lenses are shaded by the car top, but also because the car windows block some of the ultraviolet radiation needed for the photochromic reaction. For this reason, photochromic lenses are not usually recommended for driving in bright situations. Some patients appreciate them when driving in suburban areas.Photochromic lenses darken rapidly on exposure to light but lighten more slowly when returned to the dark (Fig. 8). For this reason, photochromic lenses should be prescribed with care for people whose work requires that they rapidly travel from outdoors to indoors (e.g., a forklift driver at a warehouse). The lenses are fine for outdoor use, but the slow lightening of the lenses may compromise visual function for the first few minutes of indoor wear.

Fig. 8. Darkening and fading curves for a Photogray Extra lens. (Courtesy of Corning, Inc, Corning, NY.)

Transmittance curves for the glass Photogray Extra and the plastic Sunsensors lenses are shown in Figures 9 and 10. Because both lenses are gray in color, the curves are essentially flat across the visible spectrum. Both lenses also provide UV protection. Corning states that their Photogray Extra and Sunsensors lenses each absorb 97% of the UVA and 100% of the UVB. The manufacturers of the Transitions Gray lens and ColorMatic Extra lens claim that their lenses absorb 100% of the UVA and UVB.

Fig. 9. Transmittance curves for a glass Photogray Extra photochromic lens in its lightened (faded) and darkened states. (Courtesy of Corning, Inc, Corning, NY.)

Fig. 10. Transmittance curve for a plastic Sunsensors photochromic lens in its lightened (faded) and darkened states. (Courtesy of Corning, Inc, Corning, NY.)

Glass and plastic photochromic lenses have some important differences. First, a plastic photochromic lens weighs much less than a glass lens of the same power. This characteristic has driven the photochromic lens market toward the present domination by plastic lenses. Second, some plastic photochromic lenses are available in high-index materials, including polycarbonate. Although high-index glass photochromic lenses are available, they may be too heavy for comfortable wear at the higher powers at which they are normally used. Third, glass photochromic lenses require a “break-in” period when first worn. A new Photogray Extra lens has a light green color that changes to the normal gray color over the first week or two of wear. During the same time period, lens performance improves. The lens darkens faster and more on exposure to sunlight. The need for a break-in period is not a competitive factor, but patients should be informed about it when they receive their new lenses. Fourth, the transmittance of a plastic photochromic lens is more sensitive to ambient temperature than that of a glass photochromic. At higher temperatures, plastic photochromic lenses do not darken as much as glass. Glass photochromic lenses tend to perform better than plastic photochromic lenses in warm climates. Finally, plastic photochromic lenses slowly wear out over time. After about 2 years of normal use, a darkened plastic photochromic is a few percent lighter than when new. Most patients are not affected by this because they probably will replace their lenses before the change in performance becomes noticeable.

The large market for photochromic lenses has stimulated the introduction of a number of specialized photochromic products. The glass Photosun II and the plastic Transitions Extra Active lenses are darker photochromic lenses designed to be worn primarily as sunglasses. These lenses are generally too dark indoors for comfortable wear. Thin and Dark is a glass photochromic lens that has a 1.5-mm center thickness yet still meets impact resistance requirements when properly tempered. The lens is as dark as a Photogray Extra lens when exposed to sunlight. Photogray II is a glass photochromic lens that does not darken as much as Photogray Extra. This lens is marketed as a “comfort” lens rather than as a sunglass lens. Corning's CPF lenses are red, orange, and yellow glass photochromic lenses that are marketed as providing protection from the effects of blue light. The characteristics of these lenses are similar to those of the yellow lenses described in the next section.

Table 4 lists the lightened and darkened transmittance values for commonly used photochromic lenses. The transmittance values depend on many variables, the most important of which is ambient temperature. At higher temperatures, the lenses do not darken as much, whereas at lower temperatures, the lenses darken more than normal. For example, the transmittance of a darkened, 2-mm thick, chemically tempered Photogray Extra lens is stated to be 22% at 77°F, but the transmittance increases to 39% at 104°F and decreases to 19% at 32°F. A darkened Transitions lens has a transmittance of 22% at 72°F, but its transmittance increases to 30% at 95°F and decreases to 15% at 50°F.

 

TABLE 4. Commonly Used Photochromic Lenses


 Indoor (Lightened) Transmittance (%)*Outdoor (Darkened) Transmittance (%)*
Glass Photochromics  
Photogray Extra(Corning)8522
   
Photobrown Extra(Corning)8522
   
Photosun II(Corning)4012
   
Photogray II(Corning)8941
   
Thin & Darkgray or brown(Corning)8816
   
   
Photogray Extra 1.6(Corning)8322
   
Photobrown Extra 1.6(Corning)8330
   
CPF 450(Corning)6719
   
CPF 511(Corning)4414
   
CPF 527(Corning)3211
   
CPF 550(Corning)215
   
Plastic Photochromics  
ColorMatic Extra(Rodenstock)8516
   
Sunsensors(Corning)8617
   
Transitions Gray(Transitions)8722
   
Transitions Brown(Transitions)8728
   
Transitions XTRActive(Transitions)7515

*Transmittances were measured at 77° F for the Corning glass lenses, 72°F for the Sunsensors, and Transitions lenses, and 68°F for the Rodenstock lenses. Transmittance varies with temperature, exposure history, method of measurement, and (for glass lenses) tempering method and lens thickness.

 

YELLOW LENSES

Yellow, red, and orange tints absorb short wavelength light while transmitting the red and yellow end of the spectrum (Fig. 11). Many patients believe that they see better when wearing these lenses, and advertising claims include increased visual acuity, increased contrast sensitivity, and increased stereopsis. Generally, these claims cannot be substantiated,49 although yellow lenses may improve apparent contrast when skiing.58 Because yellow lenses absorb blue light, beneficial effects have also been claimed for many ocular pathologies, but at present there is little evidence for any of these claims. When yellow, red, or orange tints are worn, color vision may be altered and traffic signal visibility decreased.49

Fig. 11. Transmittance curves for typical glass and CR-39 plastic yellow tints. The transmittance curve for a red or orange tint would be similar except that it would be shifted to the right; that is, a red or orange tint would transmit only longer wavelengths.

Yellow lenses are occasionally advocated for driving at night. However, a yellow-tinted lens typically has a luminous transmittance of about 80%. A lens of this transmittance, although it may reduce glare from the headlights of oncoming cars, also decreases the visibility of objects along the side of the road, creating a potentially hazardous situation. Yellow lenses and darkly tinted lenses of any color should never be worn while driving at night.

MIRROR COATINGS

Mirror coatings (reflecting filters) are created by depositing a thin layer of metal onto a lens surface in a vacuum. By reflecting most of the incident light, the coating decreases the amount of light reaching the eye. Probably the most common coating materials are chromium, aluminum, and copper. Mirror coatings often are used in combination with other tints to provide darker lenses than are normally available. These darker lenses are used in sunglasses for special purposes, such as mountain climbing or snow skiing.

POLARIZING LENSES

A polarizing lens is the only lens type that actually can reduce glare from an excessively bright point relative to other objects in the visual field, if the bright point is caused by a reflection of light from the sun. Sunlight reflected from any surface, such as the rear window of a car or from water, is partially or completely horizontally plane-polarized; that is, the reflected light waves tend to vibrate in the horizontal plane. A vertically oriented polarizing lens blocks the reflected polarized light, reducing its brightness. Polarizing lenses are very popular as sunglasses for driving and fishing and are available in both prescription and nonprescription form and in both glass and plastic lens materials.

DIDYMIUM LENSES

When a glassblower or other glass worker heats glass directly in a flame, the flame surrounding the glass emits a yellow light termed sodium flare. Didymium or neodymium glass (Fig. 12) absorbs this light, which is emitted at approximately 589 nm, making it easier for the glass worker to view his or her work. The luminous transmittance of didymium glass is approximately 55%, depending on lens thickness, and didymium lenses can be worn indoors under normal lighting conditions with little effect on visual acuity. However, didymium glass does not provide good protection from UV or IR radiation. It should only be worn in lower-temperature industrial applications, where radiation levels are low.

Fig. 12. Transmittance curve for a didymium lens. The absorption band from approximately 570 to 590 nm absorbs the yellow light of sodium flare.

Didymium lenses have occasionally been advocated for enhancing apparent contrast. The claims made are similar to those made for yellow lenses. Improvements in visual performance while wearing these lenses are difficult to document.

Back to Top
REFLECTIONS FROM LENS SURFACES AND THEIR CONTROL
Every optical surface reflects light. The brightness of the reflection is a function of the index of refraction of the material on each side of the boundary; the larger the index difference, the more light is reflected. Thus, high-index lenses reflect more light than do lenses of lower index, which suggests one use for antireflective coatings. Light also may be reflected multiple times within the surfaces of a lens, providing an infinite number of reflected images. Only the first few of these reflected images may be visible because each reflected image is dimmer and dimmer.

The most common reports about reflection come from patients wearing a weak myopic prescription (-0.50 to -1.50 D). The source of the problem is shown in Figure 13. Light from a bright source, usually an overhead lamp, is reflected from the ocular surface of the lens to the front surface, then back into the eyes. This reflection occurs with all lenses, but with a low-minus power lens, the reflected ghost image is nearly in focus, so it looks like a double of the original object. It is also a little nearer to the center of the field than the object, making it especially annoying.

An antireflective coating reduces the visibility of this reflection significantly, but it does not eliminate the reflection completely. A light lens tint may decrease the visibility of the reflection because the light passes through the lens three times before reaching the eye, and on each pass, the tint attenuates the light. Raising the optical centers of the lenses moves the image of the ghost upward and may possibly move the image out of the field of view.

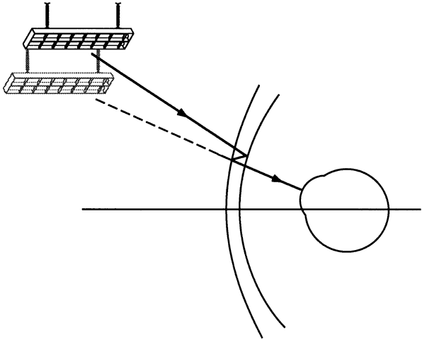
A second type of reflection problem is caused by bright sources such as street lights, automobile headlights, and windows that are viewed against an otherwise dark background. These sources are imaged by the cornea of the eye, which acts as a mirror to form a corneal reflex. This reflex is then reflected off the front or back surface of the spectacle lens (Fig. 14). Patients may describe this reflection as a flare or halo or report a sharply focused spot of light. High-plus and high-minus power lenses accentuate the problem.

Fig. 14. Bright sources can be imaged by the cornea and then reflected from the surfaces of a spectacle lens to form an annoying bright spot in the visual field.

This type of reflection can be difficult to identify. If tilting the lenses causes the reflection or ghost image to move radically, then the reflection is from the cornea. Often, a slight change in pantoscopic tilt eliminates the problem. If the lens is of high plus power, the reflection is from the front surface of the lens, so a light tint may decrease its visibility.

As previously mentioned, reports of glare from headlights when driving at night frequently are related to reflections from a patient's lenses. The best solution in this case is an antireflective coating, which both decreases the visibility of reflections and increases the lens transmittance.

A third type of reflection problem occurs when light sources behind the patient are reflected from either or both lens surfaces into the eye (Fig. 15). The simplest solution for this annoying reflection is to change the pantoscopic tilt or face-form angle of the frame (bending the frame at the bridge). In most cases, this adjustment eliminates the problem. Antireflective coatings also are effective, but a tint usually does not help because most of these reflections are from the back surface of the lens, and the reflected light does not pass through the lens. In addition, a tint provides a dark background against which the reflections become more visible. Steepening the base curve of the lenses by 1.00 to 2.00 D also may help, but this is the last option to be considered because the lenses must be remade.

Fig. 15. Bright light sources above and behind the eye can be a cause of complaints about reflections.

For all of the aforementioned types of reflections, if the patient understands the source of the problem and is assured that nothing is wrong with his or her vision or the lenses, the concern often is eliminated.

A fourth type of reflection is the myopic ring of strong minus-power spectacle prescriptions (Fig. 16). This white ring appears to surround the lens at its edge and is caused by multiple reflections of the lens bevel within the lens. Myopic rings detract from the cosmetic appearance of the glasses more than they affect the patient's vision. An antireflective coating is effective in correcting this problem, as is a light tint.

Fig. 16. The myopic rings of strong minus-power lenses are caused by multiple reflections of the lens edge within the lens.

Reflections are a common cause of patient complaints. They can be controlled and reduced, but not eliminated, by the use of antireflective coatings and light tints. A light tint only decreases the visibility of reflections that pass through the lens, so the source and type of reflections should be identified before prescribing. Changes in the pantoscopic tilt of a patient's glasses also may help by moving the reflection out of the line of sight. This adjustment is always the simplest and least expensive method of solving reflection problems, and the first thing to try.

THE ANTIREFLECTIVE COATING

Light energy moves forward in waves. These waves are analogous to water waves, with crests and troughs. If a pebble is tossed into a pool of water, waves radiate outward. If a second pebble is tossed in, where crests from the two sets of waves meet, there is a higher crest. Where the crest of a wave from one source meets the trough from the other, the waves flatten out and disappear.

A thin transparent coating can be deposited on a spectacle lens in a vacuum. If the thickness of this layer is equal to one fourth of the wavelength of light (actually slightly less than one fourth of the wavelength to allow for the decreased velocity of light when traveling through the coating), and if the index of refraction of the coating is chosen properly, light waves reflected from the interface between the coating and the glass are one-half wavelength out of step with the waves reflected from the outer surface of the coating (Fig. 17). The two wave trains cancel each other (destructive interference), and no reflections are seen.

Fig. 17. Optical principle of an antireflective coating. When the coating is ¼-wavelength thick, light waves reflected from the two surfaces of the coating are exactly ½-wavelength out of phase and cancel (destructive interference). (Modified from Young JM: AR coating: a definition. Optical World 17[110]:8, May 1988)

The antireflective coating does not destroy light; the interference or interactions that occur between the different light waves only redistribute the light. Because less light is reflected, more is transmitted. For this reason, it is generally not a good idea to apply an antireflective coating to a sunglass lens. An exception would be a situation in which reflections from the back surface of a dark sunglass lens irritate the wearer. An antireflective coating on the back surface of a dark lens decreases the visibility of these reflections, with only minor effects on lens transmittance.

In practice, the ideal antireflective coating does not exist. It is difficult to find a coating of the proper index of refraction, and the single-layer antireflective coating is of the proper thickness for only one wavelength of light. Thus, even at the design wavelength, reflections cannot be completely eliminated, and wavelengths other than the design wavelength are somewhat reflected. The thickness of a single-layer coating usually is chosen to be optimal for a wavelength in the middle of the visible spectrum (in the green), so more red and blue light than green light is reflected (Fig. 18). Therefore, reflections from a single-layer coating usually are purple, although the total reflection from the lens surface is decreased.

Fig. 18. Reflectance as a function of wavelength for representative single-layer, bilayer, and multilayer antireflective coatings. Each surface of an uncoated crown glass lens has a reflectance of 4.3%. (Modified from Young JM: AR coating: a definition. Optical World 17[110]:8, May 1988.)

Improvements in the technology of coatings now allow multilayer antireflective coatings for spectacle lenses at a reasonable cost. A number of extremely thin layers are applied to the lens surfaces in a vacuum, with the layers alternating in index and thickness. These coatings allow the reflectance of the lens surfaces to be greatly reduced, and the reflectance is more equal across the spectrum (see Fig. 18). Reflections from the lens surfaces still are colored. However, the color depends on the coating design, and the color is more cosmetically appealing than the purple reflection of the single-layer coating. A high-quality multilayer antireflective coating can decrease reflections from approximately 4% at each lens surface to approximately 0.5%, decreasing the total lens reflectance to 1% and increasing the transmittance of the lens from 92% to 99%.59

Two difficulties with antireflective coatings are worth mentioning. One, the coatings are relatively soft and scratch easily. The lenses should be treated like CR-39 plastic; patients should always wet the lenses before cleaning and dry the lenses with a soft cloth or facial tissue. The lenses may be abraded easily if kept in a pocket or purse without the protection of a case. Second, the lenses get dirty easily. Because the lenses reflect so little light, water spots, oil smudges, or fingerprints, which increase reflection, are more visible than for uncoated lenses.

Back to Top
REFERENCES

1. American National Standard for Ophthalmics—Nonprescription Sunglasses and Fashion Eyewear—Requirements, ANSI Z80.3-1996. Merrifield, VA: Optical Laboratories Association, 1997

2. Hill AR, Stevenson RWW: Long-term adaptation to ophthalmic tinted lenses. Mod Probl Ophthalmol 17:264, 1976

3. Davis JK: Prescribing for visibility. Probl Optom 2:131, 1990

4. Hecht S, Hendley CD, Ross S, Richmond PN: The effect of exposure to sunlight on night vision. Am J Ophthalmol 31:1573, 1948

5. Peckham RH, Harley RD: The effect of sunglasses in protecting retinal sensitivity. Am J Ophthalmol 34:1499, 1951

6. Clark B, Johnson ML, Dreher RE: The effect of sunlight on dark adaptation. Am J Ophthalmol 29:828, 1946

7. Adams AJ, Haegerstrom-Portnoy G: Color deficiency. In Amos J (ed): Diagnosis and Management in Vision Care, pp 671–713. Boston: Butterworths, 1987

8. Pokorny J, Smith VC, Verriest G, Pinckers AJLG: Congenital and Acquired Color Vision Defects, pp 83–135. New York: Grune & Stratton, 1979

9. Pease P: Color vision. In Benjamin WJ (ed): Borish's Clinical Refraction, pp 242–302. Philadelphia: WB Saunders, 1998

10. Mecherikunnel AT, Richmond JC: Spectral distribution of solar radiation, NASA Technical Memorandum 82021. Greenbelt, MD: NASA Goddard Space Flight Center, 1980

11. Pitts DG: Ultraviolet radiation: When and why. Probl Optom 2:95, 1990

12. Council on Scientific Affairs: Harmful effects of ultraviolet radiation. JAMA 262:380, 1989

13. Pitts DG: The ocular ultraviolet action spectrum and protection criteria. Health Phys 25:559, 1973

14. Sliney D, Wolbarsht M: Safety with Lasers and Other Optical Sources, pp 187–215. New York: Plenum Press, 1980

15. Davis JK: The sunglass standard and its rationale. Optom Vis Sci 67:414, 1990

16. American National Standard Practice for Occupational and Educational Eye and Face Protection: ANSI Z87.1-1989. New York: American National Standards Institute, 1989

17. Freedman A: Climatic droplet keratopathy: I. Clinical aspects. Arch Ophthalmol 89:193, 1973

18. Gray RH, Johnson GJ, Freedman A: Climatic droplet keratopathy. Surv Ophthalmol 36:241, 1992

19. Fraunfelder FT, Hanna C: Spheroidal degeneration of cornea and conjunctiva: 3. Incidences, classification, and etiology. Am J Ophthalmol 76:41, 1973

20. Norn MS: Spheroidal degeneration, pinguecula, and pterygium among Arabs in the Red Sea Territory, Jordan. Acta Ophthalmol (Copenh) 60:949, 1982

21. Detels R, Dhir SP: Pterygium: A geographical study. Arch Ophthalmol 78:485, 1967

22. Taylor HR, West SK, Rosenthal FS et al: Corneal changes associated with chronic UV irradiation. Arch Ophthalmol 107:1481, 1989

23. Taylor HR, West S, Munoz B et al: The long-term effects of visible light on the eye. Arch Ophthalmol 110:99, 1992.

24. Pitts DG, Cullen AP, Hacker PD: Ocular effects of ultraviolet radiation from 295 to 365 nm. Invest Ophthalmol Vis Sci 16:932, 1977

25. Hiller R, Sperduto RD, Ederer F: Epidemiologic associations with nuclear, cortical, and posterior subcapsular cataracts. Am J Epidemiol 124:916, 1986

26. Taylor HR, West SK, Rosenthal FS et al: Effect of ultraviolet radiation on cataract formation. N Engl J Med 319:1429, 1988

27. Collman GW, Shore DL, Shy CM et al: Sunlight and other risk factors for cataracts: An epidemiologic study. Am J Public Health 78:1459, 1988

28. Bochow TW, West SK, Azar A et al: Ultraviolet light exposure and risk of posterior subcapsular cataracts. Arch Ophthalmol 107:369, 1989

29. West SK, Duncan DD, Munoz B et al: Sunlight exposure and risk of lens opacities in a population-based study: The Salisbury eye evaluation project. JAMA 280:714, 1998

30. Pitts DG: The electromagnetic spectrum. In Pitts DG, Kleinstein RN (eds): Environmental Vision: Interactions of the Eye, Vision, and the Environment, pp 87–135. Boston: Butterworth-Heinemann, 1993

31. Ham WT, Mueller HA, Ruffolo JJ et al: Action spectrum for retinal injury from near-ultraviolet radiation in the aphakic monkey. Am J Ophthalmol 93:299, 1982

32. Schmidt RE, Zuclich JA: Retinal lesions due to ultraviolet laser exposure. Invest Ophthalmol Vis Sci 19:1166, 1980

33. Kamel ID, Parker JA: Protection from ultraviolet exposure in aphakic erythropsia. Can J Ophthalmol 8:563, 1973

34. Jordan DR, Valberg JD: Dyschromatopsia following cataract surgery. Can J Ophthalmol 21:140, 1986

35. Werner JS, Steele VG, Pfoff DS: Loss of human photoreceptor sensitivity associated with chronic exposure to ultraviolet radiation. Ophthalmology 96:1552, 1989

36. Kraff MC, Sanders DR, Jampol LM, Lieberman HL: Effect of an ultraviolet-filtering intraocular lens on cystoid macular edema. Ophthalmology 92:366, 1985

37. Wald G: The photochemistry of vision. Doc Ophthalmol 3:94, 1949

38. Wald G: Alleged effects of the near ultraviolet on human vision. J Opt Soc Am 42:171, 1952

39. Barker FM: Does the ANSI Z80.3 nonprescription sunglass and fashion eyewear standard go far enough? Optom Vis Sci 67:431, 1990

40. Young RW: The family of sunlight-related eye diseases. Optom Vis Sci 71:125, 1994

41. Lerman S: UV radiation photodamage to the ocular lens: Diagnosis and treatment. Ann Ophthalmol 14:411, 1982

42. Pitts DG: Principles in ocular protection. In Pitts DG, Kleinstein RN (eds): Environmental Vision: Interactions of the Eye, Vision, and the Environment, pp 259–280. Boston: Butterworth-Heinemann, 1993

43. Lydahl E, Philipson B: Infrared radiation and cataract: I. Epidemiologic investigation of iron- and steel-workers. Acta Ophthalmol (Copenh) 62:961, 1984

44. Lydahl E, Philipson B: Infrared radiation and cataract: II. Epidemiologic investigation of glass workers. Acta Ophthalmol (Copenh) 62:976, 1984

45. Lydahl E, Glansholm A: Infrared radiation and cataract: III. Differences between the two eyes of glass workers. Acta Ophthalmol (Copenh) 63:39, 1985

46. Lanum J: The damaging effects of light on the retina: Empirical findings, theoretical and practical implications. Surv Ophthalmol 22:221, 1978

47. Newsome DA, Berson E, Bonner R et al: Possible role of optical radiation in retinal degenerations. In Waxler M, Hitchins VM (eds): Optical Radiation and Visual Health, pp 89–101. Boca Raton, FL: CRC Press, 1987

48. Young RW: Solar radiation and age-related macular degeneration. Surv Ophthalmol 32:252, 1988

49. Hovis JK, Lovasik JV, Cullen AP, Kothe AC: Physical characteristics and perceptual effects of “blue-blocking” lenses. Optom Vis Sci 66:682, 1989

50. Borgwardt B, Fishman GA, Meulen DV: Spectral transmission characteristics of tinted lenses. Arch Ophthalmol 99:293, 1981

51. Anderson WJ, Gebel RKH: Ultraviolet windows in commercial sunglasses. Appl Opt 16:515, 1977

52. Stephens GL, Pitts DG: Evaluation of the performance of spectacle lens “transmittance meters.”Optom Vis Sci 71:220, 1994

53. Coroneo MT: Albedo concentration in the anterior eye: A phenomenon that locates some solar diseases. Ophthalm Surg 21:60, 1990

54. Narayanan P, Merriam JC, Vazquez ME, Dillon J: Experimental model of light focusing of the peripheral cornea. Inv Ophthalmol Vis Sci 37:37, 1996

55. Schein OD, West S, Munoz B et al: Cortical lenticular opacification: Distribution and location in a longitudinal study. Invest Ophthalmol Vis Sci 35:363, 1994

56. Rosenthal FS, Bakalian AE, Taylor HR: The effect of prescription eyewear on ocular exposure to ultraviolet radiation. Am J Public Health 76:1216, 1986

57. Rosenthal FS, Phoon C, Bakalian AE, Taylor HR: The ocular dose of ultraviolet radiation to outdoor workers. Invest Ophthalmol Vis Sci 29:649, 1988

58. Pitts DG: Sunglasses for ocular protection. In Pitts DG, Kleinstein RN (eds): Environmental Vision: Interactions of the Eye, Vision, and the Environment, pp 299–313. Boston: Butterworth-Heinemann, 1993

59. Young JM: AR coating: A definition. Optical World 17:8, 1988

Back to Top